Cart

Your cart is currently empty.

Continue shopping

资本偏爱 "硬科技":2025上半年充电领域半导体融资事件汇总

Dec 9, 2025 CHIPIPO

前言

2025 年上半年,全球新能源产业持续扩张,充电桩、电动汽车、光伏储能等领域的快速发展,对功率器件的需求日益旺盛,尤其是以碳化硅(SiC)、IGBT 为代表的高端功率半导体,成为推动行业技术升级的核心驱动力。在此背景下,功率器件企业的融资活动呈现出活跃态势。据chipipo不完全统计,上半年半导体行业充电领域发生 20 起融资事件,涉及萃锦科技、翠展微电子、瞻芯电子、龙腾半导体等多家企业,融资轮次覆盖天使轮到 D++ 轮,资本在技术研发、产能扩张、市场拓展等方面为企业提供了有力支撑,也折射出功率器件赛道在新能源革命中的重要地位与发展潜力。

2025年上半年半导体行业充电领域企业融资事件

据CHIPIPO不完全统计,上半年半导体行业充电领域有 20 起融资事件,涉及萃锦科技、翠展微电子、万国半导体等多家企业。

图片

从融资轮次看,融资轮次从天使轮、A 轮(含 A + 轮)到 B 轮(含 B + 轮)、C 轮及 D++ 轮不等,覆盖了企业发展的不同阶段。

融资金额看,翠展微电子 B + 轮融资达数亿元,派恩杰半导体 A + 轮融资约 5 亿元,瞻芯电子 C 轮融资约 10 亿元,基本半导体 D++ 轮融资 1.5 亿元,显示出头部企业或具备核心技术的企业能获得较多资本青睐;而多数企业的融资金额未披露。

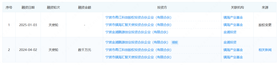
萃锦科技完成天使轮融资

2025年1月3日,功率器件研发生产销售商萃锦科技(宁波萃锦科技发展有限公司)完成天使轮融资,投资方为镇海产业基金、金浦投资。

图片

萃锦科技专业从事功率器件的研发、生产、销售和应用服务。公司联合韩国、日本和本土技术团队及芯片代工资源,产品主要包括600V 至2200V范围的碳化硅SiC MOSFET、硅基超结SiSJmos等分立器件,主要应用于新能源快速充电桩、光伏、储能、风电、工业驱动、新能源乘用车等场景和领域。

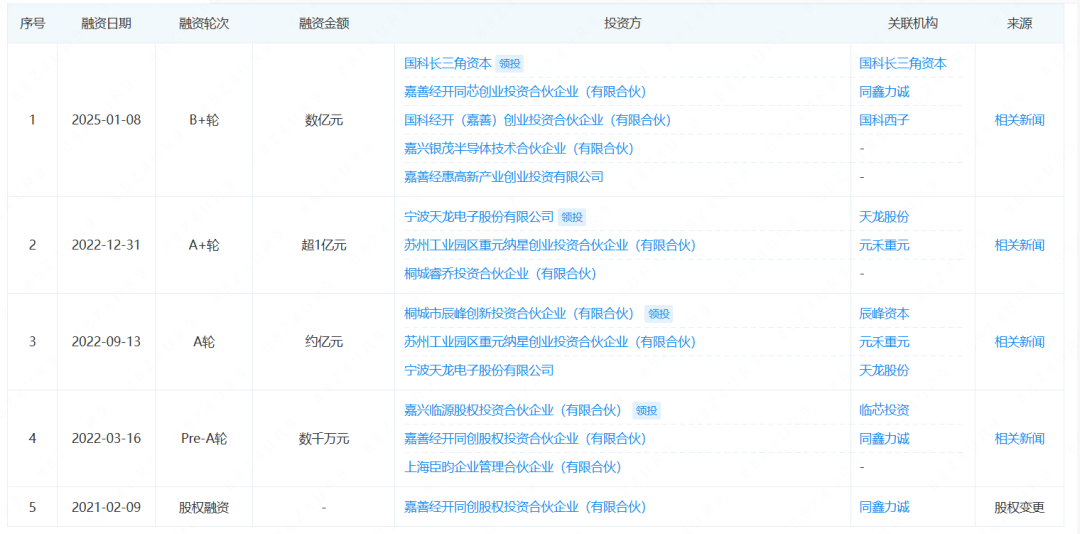
翠展微电子完成数亿元B+轮融资

2025年1月8日,功率器件产品生产商翠展微电子(浙江翠展微电子有限公司)完成数亿元B+轮融资,本轮融资由国科长三角资本领投,同鑫力诚、国科西子、嘉兴银茂半导体技术合伙企业(有限合伙)、嘉善经惠高新产业创业投资有限公司跟投。用于新产线建设、新设备购置以及新产品研发,以全面提升翠展微在IGBT模块领域的生产能力和技术创新水平。

图片

翠展微电子成立于2018年5月,是一家中国本土的功率器件公司,提供IGBT单管,IGBT模块,SiC单管,SiC模块等一系列功率器件产品,应用市场覆盖汽车、光伏及工业等领域。公司已经具备芯片设计,仿真能力,模块生产,可靠性测试及应用端的方案级别支持等综合能力,目前已经通过IATF16949,ISO14001,ISO9001,ISO17025等体系认证。

万国半导体完成B轮融资

2025年1月16日,功率半导体芯片制造与封装测试服务商万国半导体(重庆万国半导体科技有限公司)完成B轮融资,投资方为两江资本。

图片

万国半导体成立于2016年,目前主要从事功率半导体芯片制造与封装测试,致力发展成为集功率半导体设计、研发、制造(芯片制造与封装测试)、销售与服务为一体的整合元件制造商。

芯联先锋完成天使轮融资

2025年1月17日,集成电路芯片制造商芯联先锋(芯联先锋集成电路制造(绍兴)有限公司)完成天使轮融资,投资方为建信投资、中银金融、交银投资、富浙基金。

图片

芯联先锋成立于2021年,是一家集成电路芯片制造商,主要从事集成电路制造、集成电路芯片及产品制造、集成电路设计、集成电路芯片设计及服务、电子元器件制造等业务。

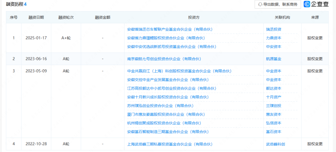
瑞迪微完成A+轮融资

2025年1月17日,芯片生产商瑞迪微(安徽瑞迪微电子有限公司)完成A+轮融资,投资方为瑞丞投资、力鼎资本、中安资本。

图片

瑞迪微公司专注于IGBT/FRD以及碳化硅MOS/SBD芯片设计、功率模块封装测试及系统应用解决方案。重点布局电动汽车、风电、光伏、储能、充电桩等新能源市场,同时兼顾电能质量及工业控制需求,致力于成长为卓越的国产功率半导体制造商。

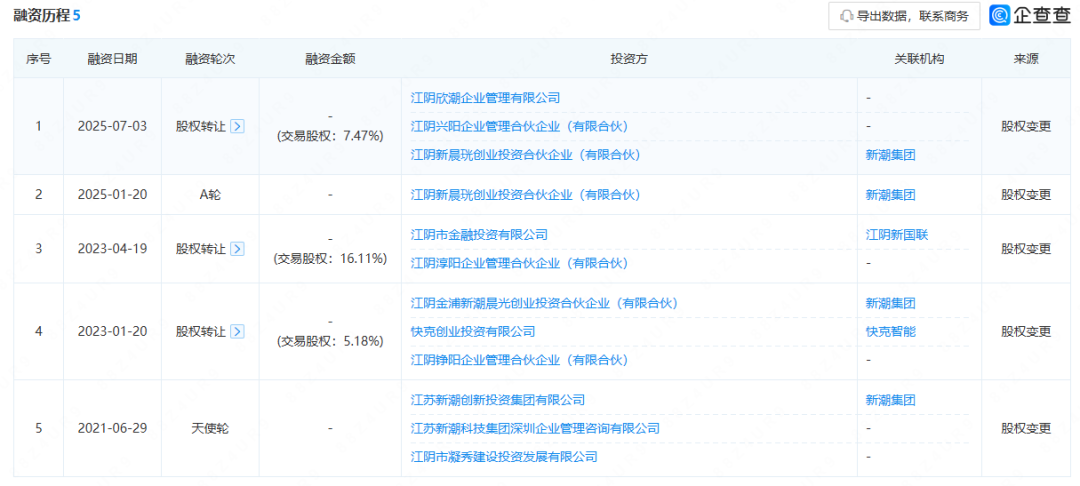
尊阳电子完成A轮融资 

2025年1月20日,功率器件与功率IC研发生产商尊阳电子(江苏尊阳电子科技有限公司)完成A轮融资,投资方为新潮集团。

图片

尊阳电子成立于2021年,公司专注于功率器件与功率IC的研发与制造产品涵盖光电产品、IGBT、第三代半导体经验丰富的研发团队在封测领域推动最前沿的创新和发展,在封测外包领域中拥有知识产权和专利组合。

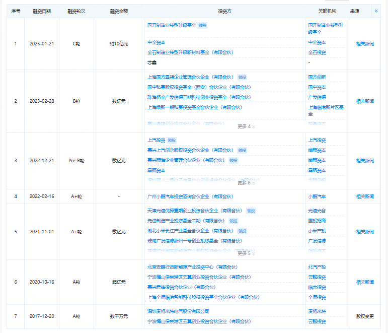
瞻芯电子完成约10亿元C轮融资

2025年1月21日,碳化硅(SiC)半导体领域的高科技芯片公司瞻芯电子(上海瞻芯电子科技股份有限公司)完成C轮融资,投资方为国开制造业转型升级基金(有限合伙)、中金资本、金石制造业转型升级新材料基金(有限合伙)、芯鑫。

图片

瞻芯电子是一家聚焦于碳化硅(SiC)半导体领域的高科技芯片公司,以虚拟IDM模式与国内一线半导体行业的合作伙伴完成晶圆制造、芯片封装、模块封装、性能测试和可靠性测试等工作环节,为中国新能源产业提供整套SiC功率器件及驱动芯片解决方案,同时打造我国独立自主的碳化硅电力电子产业链关键环节。

芯祥科技完成天使+轮融资 

2025年1月26日,工业和车规级BMS芯片研发商芯祥科技(芯祥科技(合肥)有限公司)完成天使+轮融资,投资方为创谷资本。

图片

芯祥科技致力于为清洁能源提供较好的芯片和解决方案,专注于工业和车规级BMS芯片、电源芯片及可编程模拟芯片的研发与销售,研发产品广泛应用于新能源储能、汽车、电脑、服务器及电动工具等领域。

芯旺电子完成A轮融资 

2025年2月7日,集成电路芯片研发制造商芯旺电子(江苏芯旺电子科技有限公司)完成A轮融资,投资方为安徽创投。

图片

芯旺电子成立于2023年,是一家集成电路芯片研发制造商。经营范围包含:电子产品销售;集成电路制造;集成电路销售;集成电路设计;集成电路芯片及产品制造;集成电路芯片设计及服务;集成电路芯片及产品销售;通用设备制造;通用设备修理;光伏设备及元器件制造;光伏设备及元器件销售等。

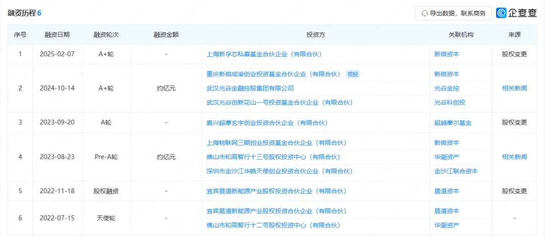
芯必达完成A+轮融资 

2025年2月7日,汽车芯片研发商芯必达(武汉芯必达微电子有限公司)完成A+轮融资,投资方为新微资本。

图片

芯必达成立于2022年,是一个汽车芯片研发商,致力于提供性能优越的车规级芯片,产品具备高可靠性和稳定性,满足汽车及工控行业在安全性,智能化等多方面的需求。

龙腾半导体完成A轮融资

2025年2月14日,功率半导体器件及系统解决方案提供商龙腾半导体(龙腾半导体股份有限公司)完成A轮融资,投资方为西投控股。用于其8英寸功率半导体器件制造项目二期晶圆产线建设进程。

图片

龙腾半导体成立于2009年,是一家致力于新型功率半导体器件研发、生产、销售、服务的技术企业。在以超结MOSFET为代表的高端功率半导体器件领域走出一条自主创新之路,形成了高压超结MOSFET、绝缘栅双极型晶体管(IGBT)、屏蔽栅沟槽(SGT)MOSFET、低压沟槽(Trench)MOSFET、高压平面MOSFET、SiC JBS&MOSFET等6大产品系列,广泛应用于汽车电子、工业电子及消费电子等领域。西投控股通过资本纽带深化合作,助力龙腾半导体提升国际竞争力。通过支持龙腾半导体技术创新,本次投资间接推动了绿色能源转型,西投控股实现了经济效益与社会效益的双重增长。

芯祥科技完成天使+轮融资

2025年2月17日,工业和车规级BMS芯片研发商芯祥科技(芯祥科技(合肥)有限公司)完成天使+轮融资,投资方为晟泽创投。

图片

芯祥科技致力于为清洁能源提供较好的芯片和解决方案,专注于工业和车规级BMS芯片、电源芯片及可编程模拟芯片的研发与销售,研发产品广泛应用于新能源储能、汽车、电脑、服务器及电动工具等领域。

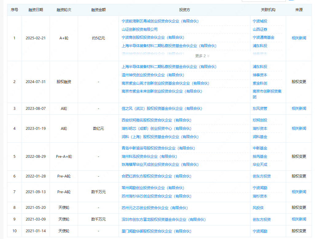
派恩杰半导体完成约5亿元A+轮融资 

2025年2月21日,第三代半导体功率器件设计商派恩杰半导体(派恩杰半导体(浙江)有限公司)完成约5亿元A+轮融资,投资方为宁波城投、山西证券、宁波通商基金、浦东科投、坤泰资本、紫金科创、南京市创新投资集团。

图片

派恩杰半导体拥有国内最全碳化硅功率器件产品目录,碳化硅MOSFET与碳化硅SBD产品覆盖各个电压等级与载流能力,并且均通过AEC-Q101车规级测试认证。可以满足客户的各种应用场景,为客户提供稳定可靠的车规级碳化硅功率器件产品。

全芯微半导体完成A轮融资

2025年3月6日,功率半导体研发商全芯微半导体(深圳全芯微半导体有限公司)完成A轮融资,投资方为新媒体。

图片

全芯微半导体成立于2021年,是一家集功率半导体研发、设计、生产、销售及服务于一体的国家技术企业,拥有丰富的数字、模拟、数模混合芯片的设计经验,其产品广泛应用于汽车电子、移动通讯、智能家居、物联网、绿色能源、工业应用等方面。

至信微完成A+轮融资

2025年3月27日,第三代半导体功率器件研发商至信微(深圳市至信微电子有限公司)完成A+轮融资,投资方为重投资本。

图片

至信微成立于2021年,致⼒于开发第三代半导体功率器件,推出的碳化硅MOSFET产品不仅良率超过90%,技术性能卓越,更是在国内率先研发1200V/7mΩ、750V/5mΩ等SiC芯⽚,在新能源汽⻋、光伏、⼯业等关键领域得到⼴泛应⽤和认可。

芯联先锋完成天使轮融资 

2025年4月10日,集成电路芯片制造商芯联先锋(芯联先锋集成电路制造(绍兴)有限公司)完成天使轮融资,投资方为信达汉石。

图片

芯联先锋成立于2021年,是一家集成电路芯片制造商,主要从事集成电路制造、集成电路芯片及产品制造、集成电路设计、集成电路芯片设计及服务、电子元器件制造等业务。

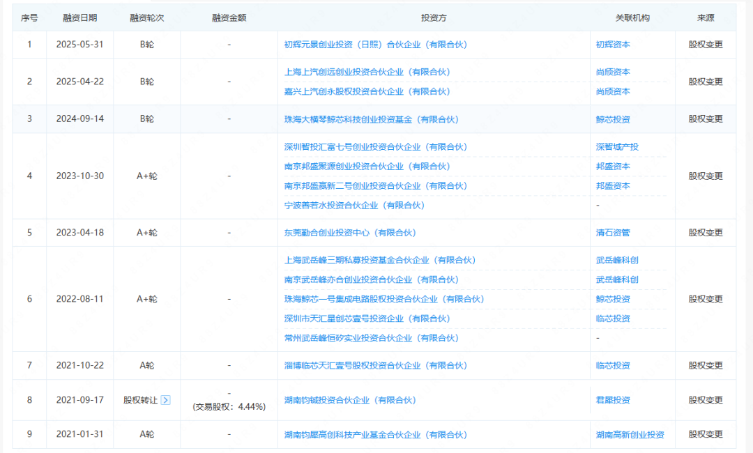
芯合电子完成B轮融资

2025年4月22日,半导体器件生产商芯合电子(芯合电子(上海)有限公司)完成B轮融资,投资方为尚颀资本。

图片

芯合电子是一家半导体器件生产商,主要为用户提供功率芯片、功率器件驱动芯片、功率器件封装、模块设计等产品及服务。

晶湛电子完成A轮融资 

2025年5月21日,功率半导体芯片设计研发商晶湛电子(成都晶湛电子科技有限公司)完成A轮融资,投资方为水木清华资本。

图片

晶湛电子成立于2023年,是一家专注于功率半导体芯片设计和研发的公司,以市场需求为导向,技术创新为驱动力,立志成为一流功率半导体方案解决者、技术引领者、全方位服务者!

芯合电子完成B轮融资

2025年5月31日,半导体器件生产商芯合电子(芯合电子(上海)有限公司)完成B轮融资,投资方为初辉资本。 

图片

芯合电子是一家半导体器件生产商,主要为用户提供功率芯片、功率器件驱动芯片、功率器件封装、模块设计等产品及服务。

基本半导体完成1.5亿元D++轮融资

6月20日,碳化硅功率器件研发商基本半导体(深圳基本半导体股份有限公司)完成的D++轮融资,融资金额达1.5亿元人民币,融资方有中山金控 、中山火炬开发区科创产业母基金。

图片

基本半导体成立于2016年,致力于碳化硅功率器件的研发与产业化。核心产品包括碳化硅二极管和MOSFET芯片、汽车级及工业级碳化硅功率模块、功率器件驱动芯片等,性能达到国际先进水平,服务于光伏储能、电动汽车、轨道交通、工业控制、智能电网等领域的全球数百家客户。此次融资将聚焦于公司在碳化硅功率器件领域的技术研发攻坚、产能规模扩充以及市场版图拓展。这笔资金的投入,为基本半导体在第三代半导体赛道的后续发展注入了强劲动力。

CHIPIPO总结

整体而言,2025 年上半年半导体行业充电领域融资市场保持一定活力,融资活动既为企业提供资金支持,也推动了技术落地与产业链协同。资本在支持企业不同发展阶段、推动技术创新等方面发挥着重要作用,也预示着该领域在新能源充电等需求的带动下,有望持续获得关注与发展动力。

温馨提示:以上信息仅供参考,不作为入市建议;投资有风险,入市需谨慎。

Back to the blog title

Post comment

Please note, comments need to be approved before they are published.